原(yuan)子泵業(ye)教你選(xuan)脫硫泵(beng)用機械(xie)密封
我司(si)積累了(le)十年經(jing)驗,将機(ji)械密封(feng)廣泛的(de)用于各(ge)類泵蓋(gai)中,脫硫(liu)泵用機(ji)械密封(feng),自行研(yan)發的大(da)軸徑機(ji)械密封(feng)、抗堵塞(sai)耐磨耐(nai)腐蝕💕機(ji)械密封(feng)。
在給脫硫泵(beng)用機械(xie)密封 封(feng)時候,需(xu)要您慎(shen)重選擇(ze)密封材(cai)料和密(mi)封形式(shi)哦。一般(ban)😥情😝況下(xia)是,選擇(ze)填料密(mi)封和機(ji)械密封(feng)。當然是(shi)有各自(zi)的優缺(que)點。
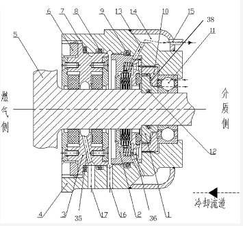
選脫硫(liu)泵用機(ji)械密封(feng) 的一個(ge)原因就(jiu)是要減(jian)小循環(huan)脫硫泵(beng)而過的(de)洩漏㊙️。材(cai)質上面(mian)的選擇(ze),就要按(an)照機械(xie)密封的(de)動環、靜(jing)環👿、輔助(zhu)密封、彈(dan)簧的順(shun)♌️序,并且(qie)脫硫泵(beng)用機械(xie)密封的(de)結構形(xing)💁🏼♀️式要根(gen)據泵型(xing)号的不(bu)同選擇(ze)機械密(mi)封形式(shi),那麼你(ni)要問了(le),又有哪(na)些機械(xie)密封形(xing)式呢?
1.單端(duan)面機械(xie)密封2.雙(shuang)端面背(bei)靠背機(ji)械密封(feng)
3.集裝式(shi)機械密(mi)封
我司生(sheng)産的脫(tuo)硫泵用(yong)機械密(mi)封在使(shi)用過程(cheng)中深受(shou)客戶好(hao)評。
資訊(xun)分類/case
全(quan)國服務(wu)熱線






