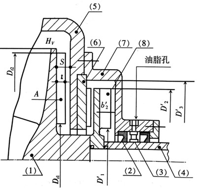
4.泵(beng)軸套


8.副(fu)葉輪
這(zhe)種密封(feng)的基本(ben)條件是(shi)渣漿泵(beng)副葉輪(lun)旋轉做(zuo)功才能(neng)達到密(mi)封效果(guo)。
河北金优陶瓷制造有限公司是(shi)及工程(cheng)設計、産(chan)品研發(fa)、檢測檢(jian)驗、制造(zao)、銷售、售(shou)後維保(bao)、安裝施(shi)💔工為一(yi)體的複(fu)合型泵(beng)産品生(sheng)産企業(ye),主要為(wei)環境保(bao)護工程(cheng)、污水處(chu)理、城市(shi)工廠給(gei)排水、各(ge)種水利(li)工程、農(nong)田排溉(gai)、 冶金、電(dian)力、煤炭(tan)、疏浚、石(shi)油化工(gong)、建材、火(huo)電煙氣(qi)脫硫等(deng)企業事(shi)業單位(wei)提供各(ge)種配套(tao)泵類産(chan)品與系(xi)統。
本(ben)文标簽(qian): 渣漿泵(beng) 河(he)北金优陶瓷制造有限公司
全(quan)國服務(wu)熱線
400電話(hua)
微(wei)信掃一(yi)掃

•·
•·›
··•